지식재산정책정보분석
지식재산관련 학술/인력정보에 관한 분석정보를 제공합니다.
지식재산창출
- 홈 > 학술정보데이터베이스 > IP 동향정보 > 주제별 분류 >
- 지식재산창출
| 미국 Apple社, 애플워치를 통한 자외선 측정 특허출원 |
|---|
| 구분 | 미국 | 자료출처 | www.appleinsider.com | ||
|---|---|---|---|---|---|
| 분류 | 창출 > 지식재산권 창출활동 > 지식재산권출원/등록 | ||||
| 기관구분 | 민간 | 주체기관 | 미국 Apple社 | ||
| 통권 | 2018-48 호 | 발행년도 | 2018 | ||
| 발행일 | 2018-11-29 | ||||
|
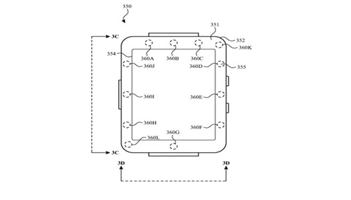
• 2018년 11월 20일, 미국 Apple社는 애플워치를 통하여 사용자가 자외선에 얼마나 노출되었는지를 측정할 수 있는 특허를 출원했다고 발표함
- (배경) 최근 Apple社는 건강관리 특허를 출원하고 있으며, 특히 Apple社의 스마트워치인 애플워치에 헬스케어 기능을 강화하고 있음 ∙ 2018년 7월, Apple社는 애플워치에 ‘자외선 차단제 알림 기능’을 탑재하여 사용자에게 자외선 차단을 위하여 언제 자외선 차단제를 다시 사용해야하는지를 알리는 특허를 출원함 - (주요내용) 동 특허는 자외선을 측정하고 노출경보를 사용자에게 알려주는 특허로, 주요내용은 다음과 같음 ∙ 동 특허는 자외선 센서가 자외선을 감지하고 시간이 지남에 따라 노출을 추적하여 사용자의 과도한 자외선 노출을 방지함 ∙ 자외선을 측정하는 센서는 사용자가 실외에 있을 때를 감지하여 센서를 작동시키며, 사용자가 노출되는 자외선 양과 노출시간 데이터를 수집하여 사용자에게 조언을 해주는데 사용됨 ∙ 자세한 분석을 위하여 애플워치는 다양한 시간과 날씨의 자외선 지수 데이터를 제공받으며, 사용자가 과거에 노출된 자외선 양을 분석하여 미래의 활동에 대해 미리 경고를 할 수도 있음 ∙ 자외선 치수 정보를 제공받기 위하여 애플워치는 위치기반 센서를 동시에 사용함
|
|||||
