지식재산정책정보분석
지식재산관련 학술/인력정보에 관한 분석정보를 제공합니다.
지식재산창출
- 홈 > 학술정보데이터베이스 > IP 동향정보 > 주제별 분류 >
- 지식재산창출
| 인텔렉추얼디스커버리, 美 킹스톤테크놀로지 상대로 특허침해소송 승소 |
|---|
| 구분 | 한국 | 자료출처 | www.etnews.com | ||
|---|---|---|---|---|---|
| 분류 | 보호 > 권리의 보호 > 분쟁조정/판결 | ||||
| 기관구분 | 민간 | 주체기관 | 인텔렉추얼디스커버리 | ||
| 통권 | 2021-12 호 | 발행년도 | 2021 | ||
| 발행일 | 2021-03-23 | ||||
|
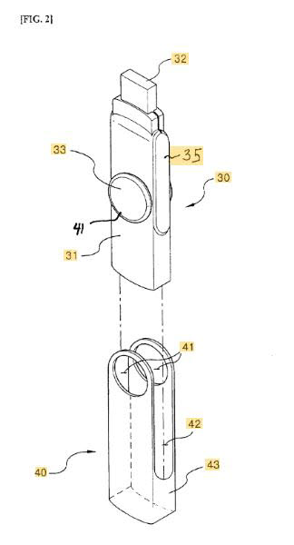
● 2021년 3월 14일, 특허관리 전문 업체 인텔렉추얼디스커버리가 미국 플래시 드라이브 전문 업체 킹스톤테크놀로지(Kingston Technology)를 상대로 특허침해소송에서 승소해 약 181억 원의 배상금을 확정함
- (주요내용) 미국 캘리포니아 중앙 지방법원(District Court for the Central District of California)은 킹스톤테크놀로지가 제조·판매한 USB 메모리가 인텔렉추얼디스커버리의 ‘일체형 회전 커버를 갖는 플래시 메모리 장치(US6926544B2)’ 특허를 침해했다고 최종판결함 ∙ 이와 더불어 고의침해에 대한 징벌적 배상으로 지난 2019년 1심 배심원 평결을 통해 책정된 배상액 750만 달러에 50%를 추가 배상할 것을 명령함 ∙ 킹스톤테크놀로지는 미국 USB 메모리 분야의 1-2위를 다투는 기업으로 특허침해가 인정된 USB 메모리는 2019년 3월 기준 370만 개에 이르는 것으로 집계됨 ∙ 특허침해 배상액은 판매된 USB 메모리당 20센트를 적용하여 총 750만 달러임 ∙ 여기에 법정이자가 약 340만 달러, 추가 배상액 50%까지 더해지면 최종 배상금액은 1,600만 달러(한화 약 181억 원)로 추산됨
|
|||||
